|
首页
|
关于我们
企业简介
企业文化
企业资质
联系我们
|
产品介绍
德国PRUSS产品
英国HH产品
|
新闻资讯
公司新闻
行业新闻
技术园地
|
成功案例
巴西电站液动高低压旁路
近年业绩
联系我们
|
售后服务
品质承诺
供货承诺
服务承诺
|
下载中心
|
质量控制
|
联系我们
产品中心
Products
产品中心
德国PRUSS产品
- 石油石化行业阀门
- 蒸汽轮机阀门
- 蒸汽锅炉阀门
- 燃气轮机阀门
- 钢铁行业阀门
- 德国PRUSS产品展示
英国HH产品
- 小口径高压平行闸阀
- 大口径高压平行闸阀
- 铸钢低压平行闸阀
- 铸钢楔形闸阀
- 锻钢楔形闸阀
- 锻钢截止阀
- 铸钢截止阀
- 锻钢旋启式止回阀
- 铸钢旋启式止回阀
- 刀形闸阀
您当前的位置:
首页
>
产品中心
>
蒸汽锅炉阀门
> 高压旁路内置雾化减温器 high-pressure bypass atstion actuator
已被关注
4716
次
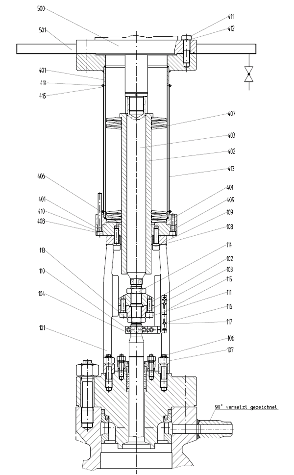
高压旁路内置雾化减温器 high-pressure bypass atstion actuator
产品图片
产品描述
售后服务
标准配置
应用:燃气电站、火电站、核电站
产品:高压旁路内置雾化减温器
样式:角型
外壳材料:锻钢
连接方式:焊接结构件
阀柱类型:多级节流系统:穿孔阀柱、3个穿孔笼
主轴密封:石墨压盖密封
阀座密封:金属
驱动:液动
控制作用:在锅炉启动时排出气体,在锅炉、汽轮机跳闸时过压保护。
在线询盘
公司名称:
联系方式:
电话号码:
email:
产品名称:
高压旁路内置雾化减温器 high-pressure bypass atstion actuator
进口温度:
出口温度:
进口压力:
出口压力:
流量:
管径:
介质:
相关产品
更多>>
高压旁路雾化减温器
雾化减温器的高压旁路 high-pressure bypass station with atomizing steam desuperheater
燃气电站、火电站、核电站阀门
辅助气体调节阀 auxiliary steam control valve
火电站、工业发电站燃料供应阀门
石油天然气调节阀 oil and gas control valve
燃气电站、火电站、核电站阀门
蒸汽启闭调节阀 steam blow-off control valve